在上一篇文章中,小编为您详细介绍了关于《SpaceX获NASA批准 可用回收火箭和龙飞船运载宇航员》相关知识。本篇中小编将再为您讲解标题瑞典公司起诉苹果滑动解锁功能侵权 8年前便起诉过。
原标题:瑞典公司起诉苹果滑动解锁功能侵权,8年前已经起诉过旧机型
澎湃新闻记者 承天蒙 综合报道
瑞典一家名为Neonode的公司起诉苹果,称苹果公司的滑行键入(QuickPath)和滑动解锁侵犯了他们的专利。
据科技网站AppleInsider 6月9日报道,这一诉讼在美国得克萨斯州西区地方法院提交,指控苹果基于手势的iOS系统导航和滑行键入键盘功能直接侵犯了Neonode的知识产权。所涉的争议知识产权是涉及触摸显示屏手势交互的美国专利8095879号,涉及触摸显示屏“点击激活图标”的美国专利8812993号。
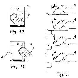
Neonode的专利示意图据2012年4月的报道介绍,Neonode是一家位于瑞典的触摸屏制造商,于2012年初获得了滑动解锁专利,同年开始起诉苹果。公司声称自己2002年首次申请了专利,比苹果的专利早3年。2000年后,该公司在欧洲生产了一些基于触摸屏的手机,如Neonode N1和Neonode N2,2008年,Neonode破产倒闭。
值得注意的是,2012年几乎同时,苹果也以一样的理由起诉了三星、HTC、摩托罗拉等安卓手机制造商,称他们侵犯了苹果的滑动解锁专利,当时Neonode的专利就被三星用来为自己辩护,对抗苹果的诉讼。
现在,Neonode再次起诉苹果,针对其iPhone 11 Pro和iPad Pro等新款设备中基于触摸的手势控制侵犯了自己的专利。新款的苹果设备取消了Home键,更多采用了滑动解锁功能。
编后语:关于《瑞典公司起诉苹果滑动解锁功能侵权 8年前便起诉过》关于知识就介绍到这里,希望本站内容能让您有所收获,如有疑问可跟帖留言,值班小编第一时间回复。 下一篇内容是有关《玩家自制FPS版《少女前线》设想图45姐属性不"钢板"》,感兴趣的同学可以点击进去看看。
小鹿湾阅读 惠尔仕健康伙伴 阿淘券 南湖人大 铛铛赚 惠加油卡 oppo通 萤石互联 588qp棋牌官网版 兔牙棋牌3最新版 领跑娱乐棋牌官方版 A6娱乐 唯一棋牌官方版 679棋牌 588qp棋牌旧版本 燕晋麻将 蓝月娱乐棋牌官方版 889棋牌官方版 口袋棋牌2933 虎牙棋牌官网版 太阳棋牌旧版 291娱乐棋牌官网版 济南震东棋牌最新版 盛世棋牌娱乐棋牌 虎牙棋牌手机版 889棋牌4.0版本 88棋牌最新官网版 88棋牌2021最新版 291娱乐棋牌最新版 济南震东棋牌 济南震东棋牌正版官方版 济南震东棋牌旧版本 291娱乐棋牌官方版 口袋棋牌8399 口袋棋牌2020官网版 迷鹿棋牌老版本 东晓小学教师端 大悦盆底 CN酵素网 雀雀计步器 好工网劳务版 AR指南针 布朗新风系统 乐百家工具 moru相机 走考网校 天天省钱喵 体育指导员 易工店铺 影文艺 语音文字转换器