在上一篇文章中,小编为您详细介绍了关于《好消息来了 Windows 10X不会越用越卡》相关知识。本篇中小编将再为您讲解标题微软为Surface平板电脑申请了主动冷却解决方案专利。
本文来自cnBeta.COM
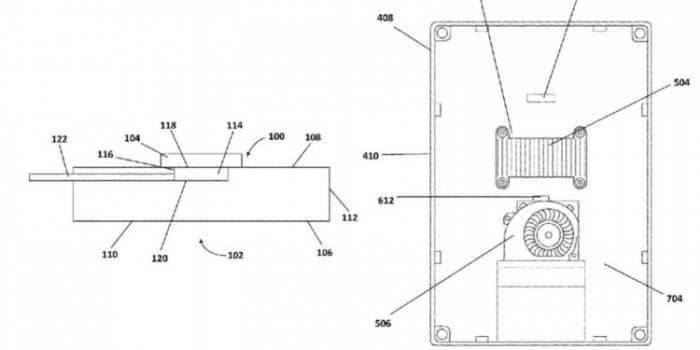
微软已经为其Surface平板电脑申请了新的配件专利,这将使双方在对接时进行散热,同时实现更高性能。所谓的Thermal Dock将包括通过Peltier散热器和风扇的组合进行主动散热,并将配备一个弹簧式散热片,通过磁铁与平板电脑连接,确保良好的热接触。
此外,底座和平板电脑将通过某种方式进行通信,当平板电脑在底座中时,会提升处理能力,当断开连接时再降低处理能力,使Surface平板电脑成为台式机替代方案,同时在断开连接时不会影响电池寿命,在移动使用时,可以让设备更轻薄、无风扇,但在台式机上仍能主动散热。
微软在专利当中表示,一种热管理系统包括热基座,该热管理系统包括可操作地冷却与热基座物理接触的计算设备。该热基座包括壳体、由壳体支撑的第一热管理装置和与第一热管理装置物理连接的第二热管理装置。该第一热管理装置与第二热管理装置是不同类型的热管理装置。
该专利于2019年7月17日申请,并于2020年5月12日公布,微软可能将其用在不久的将来会发布的产品当中。

编后语:关于《微软为Surface平板电脑申请了主动冷却解决方案专利》关于知识就介绍到这里,希望本站内容能让您有所收获,如有疑问可跟帖留言,值班小编第一时间回复。 下一篇内容是有关《S19赛季上分英雄之打野篇》,感兴趣的同学可以点击进去看看。
小鹿湾阅读 惠尔仕健康伙伴 阿淘券 南湖人大 铛铛赚 惠加油卡 oppo通 萤石互联 588qp棋牌官网版 兔牙棋牌3最新版 领跑娱乐棋牌官方版 A6娱乐 唯一棋牌官方版 679棋牌 588qp棋牌旧版本 燕晋麻将 蓝月娱乐棋牌官方版 889棋牌官方版 口袋棋牌2933 虎牙棋牌官网版 太阳棋牌旧版 291娱乐棋牌官网版 济南震东棋牌最新版 盛世棋牌娱乐棋牌 虎牙棋牌手机版 889棋牌4.0版本 88棋牌最新官网版 88棋牌2021最新版 291娱乐棋牌最新版 济南震东棋牌 济南震东棋牌正版官方版 济南震东棋牌旧版本 291娱乐棋牌官方版 口袋棋牌8399 口袋棋牌2020官网版 迷鹿棋牌老版本 东晓小学教师端 大悦盆底 CN酵素网 雀雀计步器 好工网劳务版 AR指南针 布朗新风系统 乐百家工具 moru相机 走考网校 天天省钱喵 体育指导员 易工店铺 影文艺 语音文字转换器