在上一篇文章中,小编为您详细介绍了关于《台湾社交娱乐平台M17完成2650万美元D轮融资》相关知识。本篇中小编将再为您讲解标题低调上线“丰食”瞄准团餐外卖2B市场顺丰“曲线入局”能否弯道超车?。
原标题:低调上线“丰食”瞄准团餐外卖2B市场 顺丰“曲线入局”能否弯道超车?
每经记者:赵雯琪 每经编辑:王丽娜
在2019年10月对外发布独立品牌后,顺丰同城又有了新动作,这次则看上了一直“腥风血雨”的餐饮外卖行业。
近日,《每日经济新闻》记者了解到,顺丰同城“丰食”外卖小程序面向个人和企业用户悄悄上线,根据小程序页面信息,“丰食”目前已有德克士、必胜客、超意兴、船歌鱼水饺、大城小爱等52家连锁品牌入驻。
顺丰同城方面在接受《每日经济新闻》记者采访时表示,“丰食”是顺丰同城公司内部孵化的团餐平台,目前由公司内部十来个人的项目组进行管理和运营。初衷是在疫情期间解决自己企业内部员工的用餐问题,为内部各组织提供员工餐。
不过,顺丰同城同时透露,等内部企业餐的解决方案足够成熟时,项目组也希望“丰食”能作为顺丰同城给老客户的增值服务之一,帮助合作企业解决员工就餐问题的同时,也能为商户助力。
从推出同城配送业务到发布独立品牌,顺丰频频切入本地生活服务领域的动作多次引发业内外的遐想,而如今低调进军餐饮外卖行业,让原本就不平静的外卖市场再掀涟漪。
顺丰同城:“丰食”业务形态为“2B” 目前仅在内部推行
顺丰低调杀入外卖领域,对于本地生活和快递行业来说都是个大消息。
《每日经济新闻》记者从其上线的“丰食”微信小程序看到,丰食主页面主打“企业团餐”服务,但是企业和个人用户均可通过小程序下外卖订单,除了外卖下单服务外,还可以选择堂食点餐,不过该功能目前还未开放。
“丰食”微信小程序截图
记者体验发现,目前北京地区部分餐厅已可以通过丰食平台下单外卖,仍有多数餐厅处于“测试阶段”,而配送费用则根据不同的餐厅有不同设置。
值得一提的是,丰食还在小程序中推出了“瓜分500万”的活动,用户可通过“邀请企业入驻”和“我要推荐企业”页面推荐企业。奖励堪称丰厚,推荐的企业6月30日前在丰食消费1000元,推荐人可另外获得500元奖励。由此一定程度也能看出顺丰入局餐饮外卖领域的决心。
顺丰同城方面表示,“丰食”业务形态为“2B”,目前仅在顺丰内部推行,接受内部订单。
“顺丰内部在全国有上千个办公场所,有几十万员工,尤其是部分区域比较偏远,没有餐饮的可选供应商,丰食撮合商家与企业之间的交易,与品牌商家合作,不仅保证了餐品的安全,而且餐品的可选性也更丰富,配合优质的顺丰同城即时物流,让企业员工餐更安心更满意。”顺丰同城如此回应。
同时,顺丰同城也透露,等内部企业餐的解决方案足够成熟时,“丰食”或将成为顺丰同城老客户的增值服务之一,帮助合作企业解决员工就餐问题的同时,也能为商户助力。
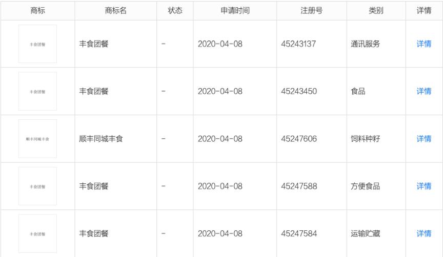
而早在此前,顺丰就已经开始了对于“丰食”的布局。启信宝数据显示,就在4月初,深圳顺丰泰森控股(集团)有限公司曾申请多个与“丰食”相关的商标,其中包括“顺丰同城丰食”“丰食团餐”等。

图片来源:启信宝
官方资料显示,顺丰同城公司于2019年3月1日开始独立运营,并于2019年10月24日正式发布“顺丰同城急送”品牌。作为第三方即时物流平台,为品牌商户、平台中小商户和个人用户提供包括专业定制化、高性价比标准化,和多元个性化在内的多种配送服务。
顺丰控股2019年财报显示,2019年顺丰同城业务实现不含税营业收入19.52亿元,同比增长96.12%,高于行业平均增速,在运力和服务上,已完成全国200+城市的弹性网络全覆盖,实现混合运力融合调度。
如此看来,从即时配送入手,到如今初试餐饮外卖平台,顺丰对于本地生活服务的探索从未停止。
“曲线入局”能否“弯道超车”?
一直以来,餐饮外卖市场的竞争都可谓凶猛,前有“百团大战”,后有饿了么、美团之间的正面对抗。而随着阿里收购饿了么、美团上市,外卖市场的竞争格局逐渐趋于稳定。
不过,在最近一段时间,因为平台、用户与商家、骑手的佣金之争,又一次引起了外卖市场的新一轮波动。而选择在这个时候入局餐饮外卖,又“曲线”切入团餐市场,似乎也暗含着顺丰的2B野心。
相比于刀光剑影的个人外卖业务,团餐可以被称为是餐饮这片红海中为数不多的蓝海。
《2019-2020中国团餐产业细分市场运营及典型案例分析报告》显示,2019年,中国团餐产业发展势头较猛,占据超过30%的餐饮行业市场份额,市场规模已达1.5万亿。预计2020年中国团餐市场份额和市场规模都将再创新高,市场规模将达1.69万亿。
就在3月9日,美团对外宣布6亿元领投食材配送企业望家欢,创下我国团餐供应链行业近年来最大的单笔融资纪录。而就在同日,美团外卖的团餐开始在上海部分地区试水,合作品牌商家超过120家,包括必胜客、老娘舅、五芳斋等餐饮企业。
电子商务研究中心生活服务电商分析师陈礼腾在接受《每日经济新闻》记者采访时表示,疫情下堂食受限,餐饮外卖市场迎来新一轮增长,加之疫情影响下美团和饿了么因佣金问题广受争议,给予其他平台发展的机会。“丰食”此时入局,从团餐切入,避免和美团饿了么的直接竞争,有助于其市场的打开,加上顺丰在物流配送上的优势,顺丰的入局对于整个餐饮外卖市场而言意味着行业竞争加剧,能进一步激活市场。
“同城本地生活的5公里生活圈用户需求更多样化,增值服务更加可观,是各平台必争之地。除了美团、饿了么外,顺丰也有所布局,而‘丰食’只是顺丰同城业务的一个分支,未来几家公司围绕这一领域的业务争夺或许还将增加。”陈礼腾表示。
不过也有业内人士表示,外卖领域市场已经成熟,顺丰选择在此时入局,也或将面临不小的挑战。
每日经济新闻游戏网
编后语:关于《低调上线“丰食”瞄准团餐外卖2B市场顺丰“曲线入局”能否弯道超车?》关于知识就介绍到这里,希望本站内容能让您有所收获,如有疑问可跟帖留言,值班小编第一时间回复。 下一篇内容是有关《他曾失去了马云,赢回了阿里,成就了美团小米,为自己赚了6个亿》,感兴趣的同学可以点击进去看看。
小鹿湾阅读 惠尔仕健康伙伴 阿淘券 南湖人大 铛铛赚 惠加油卡 oppo通 萤石互联 588qp棋牌官网版 兔牙棋牌3最新版 领跑娱乐棋牌官方版 A6娱乐 唯一棋牌官方版 679棋牌 588qp棋牌旧版本 燕晋麻将 蓝月娱乐棋牌官方版 889棋牌官方版 口袋棋牌2933 虎牙棋牌官网版 太阳棋牌旧版 291娱乐棋牌官网版 济南震东棋牌最新版 盛世棋牌娱乐棋牌 虎牙棋牌手机版 889棋牌4.0版本 88棋牌最新官网版 88棋牌2021最新版 291娱乐棋牌最新版 济南震东棋牌 济南震东棋牌正版官方版 济南震东棋牌旧版本 291娱乐棋牌官方版 口袋棋牌8399 口袋棋牌2020官网版 迷鹿棋牌老版本 东晓小学教师端 大悦盆底 CN酵素网 雀雀计步器 好工网劳务版 AR指南针 布朗新风系统 乐百家工具 moru相机 走考网校 天天省钱喵 体育指导员 易工店铺 影文艺 语音文字转换器