在上一篇文章中,小编为您详细介绍了关于《原创赵云龙胆上线首日,销量秒百万!手感轻盈打人疼,玩家五杀太过瘾》相关知识。本篇中小编将再为您讲解标题新专利显示苹果未来笔电可能采用可弯曲一体成型设计。
本文来自cnBeta.COM
未来的MacBook或MacBook Pro机型可能会采用一体成型的设计,配备无缝可弯曲的铰链机构,让苹果可以用一块材料打造出它们。它可能会像普通的MacBook Pro一样打开,但这种潜在的未来设计将包括一个可弯曲的铰链。
继苹果为iPhone和iPad申请了许多可弯曲,甚至是可滚动的屏幕专利之后,该公司还在研究MacBook Pro如何从能够弯曲的屏幕中受益。与目前连接屏幕与机身的复杂铰链机构不同,苹果正在研究一种更灵活的设备,而不是目前复杂的铰链机构。
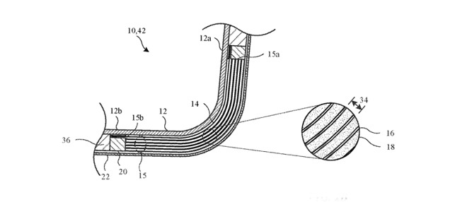
美国专利号10,642,318,名为“平面铰链组件”的苹果专利,主要描述了这样的设计如何适用于MacBook Pro风格的设备。专利表示,一种个人计算设备包括具有无缝整体外观的单片机身,该单片机身包括可弯曲的部分,该部分能够具有平滑的弯曲形状。该单片机身的第一部分包括能够呈现视觉内容的显示装置,以及能够承载输入动作和输入装置的第二部分。
苹果这个专利想法是,MacBook Pro,或者其他设备,可以在一个平面上制作,而这个单片机身有一个 可弯曲的部分,可弯曲的部分仍然要容纳目前连接屏幕和键盘的电子元件,它必须保持机械通信能力,苹果的解决方案是让 可弯曲结构 由 可以从非压缩状态过渡到压缩状态的层层叠加而成。
这专利苹果之前的一个设备计划类似,该设备不是普通的屏幕和键盘,而是呈现两个屏幕,其中一个能够显示,另外一个可以模拟输入设备。现在,苹果在专利当中还提出,这样的 可调节弯曲结构还可以包括一个可弯曲的电池。


编后语:关于《新专利显示苹果未来笔电可能采用可弯曲一体成型设计》关于知识就介绍到这里,希望本站内容能让您有所收获,如有疑问可跟帖留言,值班小编第一时间回复。 下一篇内容是有关《原创这款手游内测5年,预约5个月,到现在还没公测,究竟还要等多久?》,感兴趣的同学可以点击进去看看。
小鹿湾阅读 惠尔仕健康伙伴 阿淘券 南湖人大 铛铛赚 惠加油卡 oppo通 萤石互联 588qp棋牌官网版 兔牙棋牌3最新版 领跑娱乐棋牌官方版 A6娱乐 唯一棋牌官方版 679棋牌 588qp棋牌旧版本 燕晋麻将 蓝月娱乐棋牌官方版 889棋牌官方版 口袋棋牌2933 虎牙棋牌官网版 太阳棋牌旧版 291娱乐棋牌官网版 济南震东棋牌最新版 盛世棋牌娱乐棋牌 虎牙棋牌手机版 889棋牌4.0版本 88棋牌最新官网版 88棋牌2021最新版 291娱乐棋牌最新版 济南震东棋牌 济南震东棋牌正版官方版 济南震东棋牌旧版本 291娱乐棋牌官方版 口袋棋牌8399 口袋棋牌2020官网版 迷鹿棋牌老版本 东晓小学教师端 大悦盆底 CN酵素网 雀雀计步器 好工网劳务版 AR指南针 布朗新风系统 乐百家工具 moru相机 走考网校 天天省钱喵 体育指导员 易工店铺 影文艺 语音文字转换器