在上一篇文章中,小编为您详细介绍了关于《庆源激光:干劲十足抵疫前进逆势突围》相关知识。本篇中小编将再为您讲解标题苹果新专利:基于结构光投影的隔空手势方案。
原标题:苹果新专利:基于结构光投影的隔空手势方案
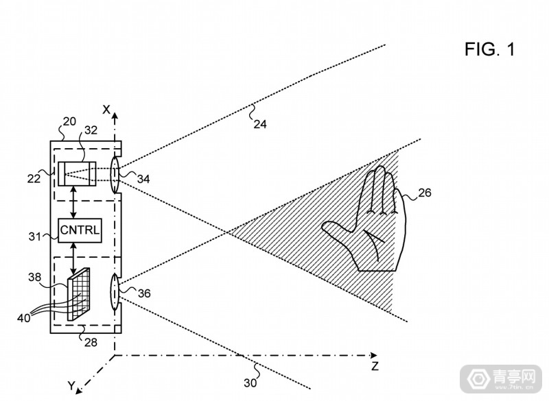
4月1日消息,美国专利商标局发布了苹果一项新专利,专利中指出了一种基于结构光和投影系统的隔空手势方案,如果与ToF等3D摄像头结合或可用于手机、平板等设备。

据了解,专利中的隔空手势识别模组包含投影装置、控制装置、图像传感器,可识别xyz三个轴的立体隔空手势。其中的投影装置包含4个投影单元,可向手等目标发射特定的结构光阵列,接着图像传感器将捕场景中的画面,交给控制器或处理器来生成3D深度模型。最后生成的3D手部模型可用于控制计算机界面。
总之,这是一个基于光学和视觉识别原理的隔空手势方案,此外研发Face ID等技术的3D传感技术团队PrimeSense,似乎在为iPhone、iPad、Mac等设备研发支持隔空手势识别的摄像头系统。
苹果并不是唯一涉足隔空手势技术的公司,此前华为推出的Mate 30 Pro就支持AI隔空操控,采用了基于3D摄像头的光学方案。相比之下,谷歌Pixel 4手机的隔空手势功能Motion Sense则基于60GHz毫米波雷达技术。
同样是手势识别技术,有的人说雷达方案的效果更好,不过考虑到这还是一个比较新的技术应用,不管是哪家公司目前都难以做到足够稳定的性能。因此,光学方案和雷达方案同样有潜力,而哪个更好是一个值得观望的问题。游戏网
编后语:关于《苹果新专利:基于结构光投影的隔空手势方案》关于知识就介绍到这里,希望本站内容能让您有所收获,如有疑问可跟帖留言,值班小编第一时间回复。 下一篇内容是有关《口罩机厂家无锡莱卡自动化科技有限公司的空压机选型》,感兴趣的同学可以点击进去看看。
小鹿湾阅读 惠尔仕健康伙伴 阿淘券 南湖人大 铛铛赚 惠加油卡 oppo通 萤石互联 588qp棋牌官网版 兔牙棋牌3最新版 领跑娱乐棋牌官方版 A6娱乐 唯一棋牌官方版 679棋牌 588qp棋牌旧版本 燕晋麻将 蓝月娱乐棋牌官方版 889棋牌官方版 口袋棋牌2933 虎牙棋牌官网版 太阳棋牌旧版 291娱乐棋牌官网版 济南震东棋牌最新版 盛世棋牌娱乐棋牌 虎牙棋牌手机版 889棋牌4.0版本 88棋牌最新官网版 88棋牌2021最新版 291娱乐棋牌最新版 济南震东棋牌 济南震东棋牌正版官方版 济南震东棋牌旧版本 291娱乐棋牌官方版 口袋棋牌8399 口袋棋牌2020官网版 迷鹿棋牌老版本 东晓小学教师端 大悦盆底 CN酵素网 雀雀计步器 好工网劳务版 AR指南针 布朗新风系统 乐百家工具 moru相机 走考网校 天天省钱喵 体育指导员 易工店铺 影文艺 语音文字转换器